Σύμφωνο συνεργασίας, που θα δρομολογήσει την ίδρυση μιας περιφερειακής δομής καινοτομίας στην Κρήτη, υπέγραψαν σήμ
Ερευνητές στο Πανεπιστήμιο της Georgia, δημιούργησαν μικροσκοπικούς σένσορες οι οποίοι μπαίνουν στο ανθρώπινο σώμα με...
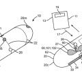
Πολλοί είναι αυτοί που κάθε φορά που πρόκειται να κάνουν μία ένεση, τους λούζει κρύος ιδρώτας! Τέλος σε αυτόν τον...
Η πιο ρομαντική γιορτή του χρόνου χαρακτηρίζεται με τη πιο λαϊκή φράση «ο έρωτας και ο βήχας δεν κρύβονται», γι’ αυτό εκφρ
Δεν υπάρχει δείγμα στην ιστορία της ανθρωπότητας, κοινωνία, σύστημα που να έχτισε πολιτισμό πάνω στην εξάρτηση. Μόνο...
Το Επιμελητήριο Λασιθίου στα πλαίσια της προσπάθειας του για την ανάπτυξη της επιχειρηματικότητας και της τοπικής...